斜齿行星齿轮减速机的结构

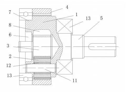
行星架体 1 上均布有至少 3 个行星轮 2,
行星架体 1 内设有与行星轮 2 啮合传动的太阳轮 3,
行星架体 1 外套设有与行星轮 2 啮合传动的内齿轮 4,
太阳轮 3、行星轮 2 和内齿轮 4 均为斜齿轮。
行星架体 1 为一圆柱体,
行星架体 1 的一端上设有输出轴 5,行星架体 1 与输出轴 5 制成一体,
行星架体 1 的另一端上设有开口 6,
行星架体 1 外设有安装凸台 7,
行星架体 1内设有与开口 6 相连通并可容纳太阳轮 3 的沟通腔8,
沟通腔 8 的侧壁上均布有与行星轮 2个数相同并可容纳行星轮 2 的安装腔 9,
安装腔 9 沿径向贯穿行星架体 1 并与沟通腔 8 相连通,
安装腔 9 的两侧壁上设有位于同一直线上并沿轴向贯穿行星架体 1 的安装孔 10,
安装腔 9 内设有行星轮轴 11,
该行星轮轴 11 的两端固定在安装孔 10 内,
该行星轮轴 11 外套装有行星轮 2,
行星轮 2 与行星轮轴 11 之间设有轴承 12,
行星轮 2 可相对行星轮轴 11 转动。

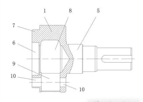
在安装运行时,
行星架体 1 外套装有内齿轮 4,
太阳轮 3 通过行星架体 1 上的开口 6 装入沟通腔 8 内,
行星轮 2 通过轴承 12 套装在行星轮轴 11 上,
然后将行星轮轴 11和行星轮 2 置于安装腔 9 内,
并且行星轮轴 11 的两端固定在安装腔 9 的两侧壁的安装孔 10内,
实现行星轮轴 11 的两端支撑 ;
同时,行星轮 2 伸出安装腔 9 的一部分与内齿轮 4 啮合传动,
行星轮 2 伸入沟通腔 8 内的一部分与太阳轮 3 啮合传动,
然后在安装凸台 7 和输出轴 5外套装上支撑轴承 13 并通过支撑轴承 13 进行支撑,
从而实现行星架体 1 的两端支撑。
在使用时,电机输入从而带动太阳轮 3 转动,
太阳轮 3 带动行星轮 2 转动,
在行星轮 2 和内齿轮 4 的作用下带动行星架体 1 转动,
从而通过行星架体 1 上的输出轴 5 输出。
斜齿行星齿轮减速机的优点
太阳轮、行星轮和内齿轮均为斜齿轮,可以紧凑中心距,使得本结构简单紧凑,体积更小,噪音低,传递扭矩大,启动平稳,可用于高速重载。
行星架体和行星轮轴为两端支撑,增强了行星架体和行星轮轴的刚度,使用寿命长 ;并且结构简单紧凑、制造成本低。
行星架体与输出轴制成一体,使得结构更加简单。
